Description:
DC power distribution non-indicating fuses specifically designed to meet the unique needs of DC power distribution systems. For use with Cooper Bussmann® fused disconnect switch 15800.
Ratings:
Volts: 170Vdc
Amps: 1-70A.
IR: 100kA
Agency Information: CE, UL Recognized, Guide JFHR2, File E56412.
General Information:
• TELPOWER® fuses bring modern power fuse design to the telecommunications industry.
• TELPOWER® fuse line is the first to be specifically designed to meet the unique needs of DC Power Distribution Systems.
• The U.L. Recognized ratings of 170Vdc and 100,000A interrupting rating along with the fuse’s currentlimiting capability make this fuse ideal for overcurrent protection on existing DC Distribution Systems.
• A unique BLUE label is used on all TELPOWER® fuses to designate their DC capability.
• Circuit board applications available.
• Silver-plated brass ferrules.
• Glass melamine tube.
• For use with Bussmann Fused Disconnect Switch 15800.
• Spare Fuseholder: TPSFH-AS
Features/Benefits
• The UL Recognized ratings and current-limiting capability make this fuse ideal for cable protection on existing DC power distribution systems
• A unique blue label is used on all Telpower fuses to designate their DC capability
• Printed circuit board variations available
Typical Applications
• Telecommunications DC power circuit protection
• Applications requiring printed circuit board mounting
Custom Designs
• Printed circuit board variations available.
Catalog Numbers (Amps)
| TPS-1 | TPS-6 | TPS-25L | TPS-50 |
| TPS-1L | TPS-6L | TPS-25V | TPS-50L |
| TPS-1LB | TPS-10 | TPS-30 | TPS-50V |
| TPS-2 | TPS-10L | TPS-30L | TPS-60 |
| TPS-2L | TPS-15 | TPS-35 | TPS-60L |
| TPS-3 | TPS-15L | TPS-35L | TPS-70 |
| TPS-3L | TPS-20 | TPS-40 | TPS-70L |
| TPS-5 | TPS-20L | TPS-40L | TPS-70LB |
| TPS-5L | TPS-25 | TPS-40V | — |
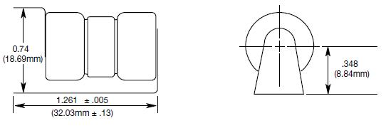
Dimensional Data
TPS-(AMP)

TPS-(AMP)L

TPS-(AMP)V

TPS-(AMP)LB

Time-Current Characteristic Curve

TPHCS Telpower® High-current S
75 Type Telpower Specialty Fuse
81 Type Telpower Specialty Fuse
TP15900-4 Fused Disconnect Swit
HLS,HLT,PCT Indicating Holders
74 Type Telpower Specialty Fuse
76 Type Telpower Specialty Fuse
7 Type Telpower Specialty Fuses
TPN Telpower® 170Vdc Fuses
